VSSJAFC型可拆式雙法蘭傳力接頭是有松套伸縮接頭和短管法蘭、傳力螺桿等構件組成,它能傳遞被連接件的壓力推力(盲板力)和補償管路誤差,并且具有一定的調節量,方便實際的施工環境進行調整。
【產品名稱】:CC2F(VSSJAFC)可拆卸雙法蘭傳力接頭(CC2FA可拆雙法蘭松套傳力補償接頭)
【產品別名】:可拆卸雙法蘭傳力伸縮器 可拆式雙法蘭傳力接頭
【產品規格】:【DN32mm-DN4000mm】
【產品壓力】:0.6-2.5MPa
【產品】:
【適用范圍】:【弱酸、弱堿、弱腐蝕類、油、熱水、冷水等】
【產品材質】:碳鋼,球墨鑄鐵,不銹鋼.
【產品顏色】:藍色,可根據客戶要求調色.
【工作溫度】:-40度至80度
在線咨詢
購買熱線: 021-622-00727
VSSJAFC型可拆式雙法蘭傳力接頭優點:安裝簡單方便、方便閥門安裝。該產品適用于兩邊均為法蘭連接的管道中,方便安裝維修時,根據現場尺寸進行調整。在工作時可以反軸向推力傳遞至整個管道。適用于輸送海水、淡水、冷熱水、飲用水、生活污水、原油、燃油、潤滑油、成品油、空氣、煤氣、溫度不高于250度的蒸汽和顆粒粉狀等介質。
1安裝簡單方便,有利于泵閥的拆裝與維護。
2使用壽命長,運行穩定。
3能夠將管道的軸向推力反傳至整條管道,避免局部受壓。
今年上海計劃竣工的億元以上重點產業項目將達180個,總投資1046億元。記者15日從上海市經信委獲悉,上海市將通過推進三個一批重點產業項目建設,確保年內一批重點項目投產達綱、一批項目建成竣工、一批項目開工建設,為穩增長夯實基礎。
按照計劃,今年將推進一批2015年建成項目投產達產。據悉,2015年億元以上已竣工重點產業項目100個,總投資約458億元,涉及電子信息、汽車、精品鋼材、裝備制造、生物醫藥等重點行業,如上汽臨港SGE發動機項目、上海通用凱迪拉克項目,今年將重點做好跟蹤落實,主動對接、加強服務,推進這批項目在2016年盡快產生經濟效益。同時,推進索達傳動機械項目,昌強大型模鍛件生產項目等180個在建項目的竣工,也是工業穩增長的重頭戲,今年將重點推進這批項目抓緊建成。
此外,還要推進一批項目早開工、早建設。今年計劃推進10億元以上的19個重大產業項目開工建設,涵蓋民用航空、好重大裝備、電子信息、海洋工程、汽車等多個領域,包括和輝光電二期,華力微電子09工程二次升級改造工程等項目。
上海駱盈將攜手上海19個10億元產業項目共創輝煌,作為此次產業項目的主要管道配件供應商,上海駱盈將本著負責任的態度,對黨和~,人民負責,嚴格要求產品質量,為打造國內頗負盛名的傳力接頭品牌而不斷努力。聯系電話021-62212627.

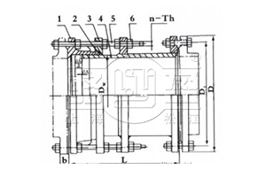
請點擊圖片看大圖
| 序號No. | 名稱Name | 數量Quantity | 材料Material |
| 1 | 本體Body | 1 | QT400-15,Q235A,ZG230-450,20 |
| 2 |
密封圈Gasket |
1 | NBR |
| 3 | 壓蓋Follower | 1 | QT400-15,Q235A,ZG230-450,20 |
| 4 | 短管法蘭Limited short pipe | 1 | Q234A,20,16Mn |
| 5 | 螺柱bolt | n | q235A,35,1Cr8Ni9Ti |
| 6 | 螺母Nut | 5n | Q235A,20,1Cr8Ni9Ti |
請點擊圖片看大圖
| 公稱通徑 | 管子外徑 | 外形尺寸 | 法蘭連接尺寸 | ||||||||
| 0.6MPa | 1.0MPa | ||||||||||
| L | Δ | D | D1 | n-Th | b | D | D1 | n-Th | b | ||
| 65 | 76 | 400 | 20 | 160 | 130 | 4-M12 | 16 | 185 | 145 | 8-M16 |
20 |
| 80 | 89 | 190 | 150 | 4-M16 | 18 | 200 | 160 | 22 | |||
| 100 | 114 | 210 | 170 | 220 | 180 | 24 | |||||
| 125 | 140 | 240 | 200 | 8-M16 | 20 | 250 | 210 | 26 | |||
| 150 | 168 | 265 | 225 | 285 | 240 | 8-M20 | |||||
| 200 | 219 | 320 | 280 | 22 | 340 | 295 | 28 | ||||
| 250 | 273 | 375 | 335 | 12-M16 | 24 | 395 | 350 | 12-M20 | |||
| 300 | 325 | 420 | 25 | 440 | 395 | 12-M20 | 24 | 445 | 400 | ||
| 350 | 377 | 490 | 445 | 26 | 505 | 460 | 16-M20 | 30 | |||
| 400 | 426 | 540 | 495 | 16-M20 | 28 | 565 | 515 | 16-M24 | 32 | ||
| 450 | 480 | 595 | 550 | 28 | 615 | 565 | 20-M24 | ||||
| 500 | 530 | 645 | 600 | 20-M20 | 30 | 670 | 620 | 34 | |||
| 600 | 630 | 440 | 755 | 705 | 20-M24 | 30 | 780 | 725 | 20-M27 | 36 | |
| 700 | 720 | 860 | 810 | 24-M24 | 32 | 895 | 840 | 24-M27 | 40 | ||
| 800 | 820 | 600 | 30 | 975 | 920 | 24-M27 | 34 | 1015 | 950 | 24-M30 | 44 |
| 900 | 920 | 1075 | 1020 | 36 | 1115 | 1050 | 28-M30 | 46 | |||
| 1000 | 1020 | 1175 | 1120 | 28-M27 | 1230 | 1160 | 28-M33 | 50 | |||
| 1200 | 1220 | 650 | 1405 | 1340 | 32-M30 | 40 | 1455 | 1380 | 32-M36 | 56 | |
| 1400 | 1420 | 1630 | 1560 | 36-M33 | 44 | 1675 | 1590 | 36-M39 | 62 | ||
| 1600 | 1620 | 670 | 1830 | 1760 | 40-M33 | 48 | 1915 | 1820 | 40-M45 | 68 | |
| 1800 | 1820 | 2045 | 1970 | 44-M36 | 50 | 2115 | 2020 | 44-M45 | 70 | ||
| 2000 | 2020 | 700 | 2265 | 2180 | 48-M39 | 54 | 2325 | 2230 | 48-M45 | 74 | |
| 2200 | 2220 | 730 | 2475 | 2390 | 52-M39 | 60 | 2550 | 2440 | 52-M52 | 80 | |
| 2400 | 2420 | 2685 | 2600 | 56-M39 | 52 | 2760 | 2560 | 56-M52 | 82 | ||
| 2600 | 2620 | 840 | 40 | 2905 | 2810 | 60-M45 | 64 | 2960 | 2850 | 60-M52 | 88 |
| 2800 | 2820 | 3115 | 3020 | 64-M45 | 68 | 3180 | 3070 | 64-M56 | 94 | ||
| 3000 | 3020 | 3315 | 3220 | 68-M45 | 70 | 3405 | 3290 | 68-M27 | 100 | ||
| 3200 | 3220 | 3525 | 3430 | 72-M45 | 76 | ||||||
| 3400 | 3420 | 3735 | 3640 | 76-M45 | |||||||
| 3600 | 3620 | 3970 | 3860 | 80-M52 | |||||||
專業制造、專業服務,駱盈為你創造更多價值 !
不斷提升服務質量,精益求精,“真誠的服務”是駱盈永恒的主題。駱盈嚴格按照 要求,質量嚴格把關,責任到人,確保生產、銷售、服務的健康運行。加強與用戶溝通,竭誠為廣大客戶提供優質產品,至善至美服務,特此駱盈做出如下承諾:
產品標準
產品嚴格按照中國 GB、HG 標準和美國 API 等標準設計、制造、驗收。密封面硬度達到規定要求,寬度超過標準。
售前服務
產品介紹,技術交流,非標產品設計,疑難解答。
售中服務
1、守信合同,保證及時供貨,隨時保持與客戶聯系
2、對特殊或復雜的產品,我廠安排技術人員對用戶進行產品使用、故障排除、調式及維修進行培訓和指導。
售后服務
1、駱盈產品質保期為自出廠起 12 個月,實行“三包”服務(包退、包換、包修)。
2、產品在使用中我廠定期組織技術、檢查人員進行訪問,征詢用戶對產品質量、使用狀況、改進意見等方面的反饋,以便進一步提高產品質量。
3、對用戶投訴產品質量問題,快速做出反映,售后服務人員在 24-36 小時(省外 48 小時)趕赴現場。
4、對售后服務,要求用戶填寫服務后的質量反饋表,并做出鑒定意見,共同提高駱盈的產品質量與服務質量。
1、客戶采購清單請傳真至 021-64207088 E-mail:luoying@luoyingsh.com,或來電咨詢 021-62212627。
2、收到客戶采購清單,為客戶提供產品型號選型與報價(價格清單)。
3、具體商定:交貨期、特殊要求等事宜。
訂貨須知
1、客戶對產品有特殊要求,須在訂貨合同中提供以下說明:
(1)結構長度
(2)連接形式
(3)公稱直徑、全通徑、縮徑、管道尺寸
(4)用介質及溫度、壓力范圍
(5)實驗、檢驗標準及其他要求本廠可根據客戶特殊要求配置定做和設計特殊產品。
2、本廠可根據客戶特殊要求配置定做和設計特殊產品。
3、如由客戶提供確定的產品類型和型號時,客戶應正確說明其型號的含義和要求,在供需雙方理解一致的條件下簽訂合同。
您也可以聯系在線客服